9.9.2016
Airbus přichází s vizí - zatím dvoumístného - letadla s vertikálním startem. Letadlo by mělo moci po startu přejít do horizontálního letu a opět vertikálně přistát, ovšem jinak, než to doposud kdo zkoušel.
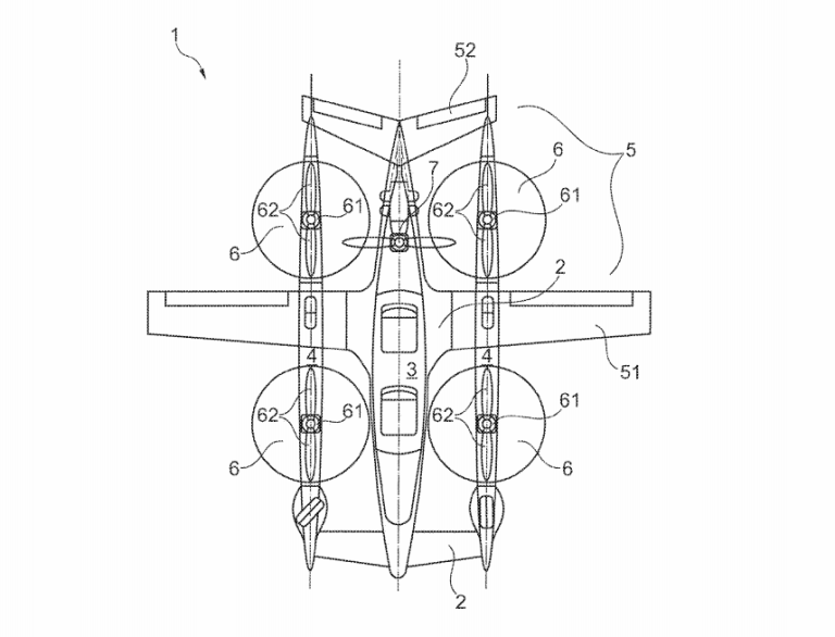
Vertikální start není v leteckém průmyslu neznámý pojem, Airbus však přišel s novou konstrukcí systému umožňujícího vertikální vzlet i přistání. Energii pro vertikální zdvih letadlu, které ještě nemá jméno, uděluje čtveřice elektrických rotorových systémů, jež jsou umístěny v pylonech uložených souběžně s trupem a kolmo na křídlo.
Video studie Airbusu s kolmým startem.
V pylonech je na každé straně letadla před a za křídlem po jednom rotoru, celkem tak stroj disponuje čtyřmi rotory s dvoulistými vrtulemi. Po vzletu se rotory poháněné nezávislým elektromotrem zastaví a zasunou do postranních pylonů, které se uzavřou, takže celek je dokonale aerodynamický. Vztlak poté obstarává už jen křídlo jako u klasického letadla.
V té chvíli přebírá hlavní roli spalovací vrtulový motor umístěný ve spojení svislé a obou vodorovných ocasních ploch (ty jsou umístěny na horním okraji svislé ocasní plochy), jenž poskytuje letadlu tah k horizontálnímu letu.
Airbus si nechal letoun pod názvem Letadlo schopné kolmého startu patentovat. Patentová přihláška byla publikována pod číslem US 2016/0236774 A1 18. srpna tohoto roku. Letoun je podle promo videa zamýšlen pro užití v civilní i vojenské verzi.
Informace o názvu, rozměrech letadla ani horizont, v němž by se letoun případně přesunul z monitorů počítačů do reálné podoby, Airbus dosud nezveřejnil, na svých webových stránkách o projektu mlčí.
Jan Dvořák
Zdroj: popularmechanics.com, aerotime.aero



Kapitola zdarma -
vyzkoušejte »